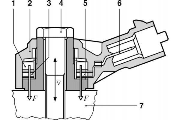
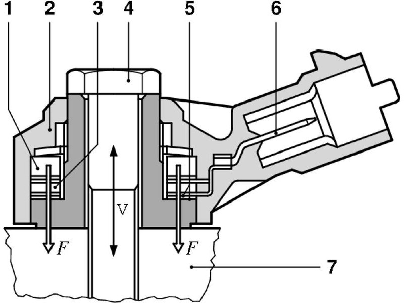
Bosch Αισθητήρας Κρούσης - 0 261 231 173
Δείτε περισσότερα σε αυτή την κατηγορία : Αισθητήρας κρούσης
BOSCH ΑΙΣΘΗΤΗΡΑΣ ΚΡΟΥΣΗΣ OPEL BOSCH 0 261 231 173 - Αισθητήρας κρούσης
-----------
Criteries : Περιοχή θερμοκρασίας από [°C] -40, Περιοχή θερμοκρασίας έως [°C] 130
Aplicability to : ABARTH|ALFA ROMEO|FIAT|HOLDEN|JEEP|MAN|OPEL|PORSCHE|SAAB|VAUXHALL
-----------
Criteries : Περιοχή θερμοκρασίας από [°C] -40, Περιοχή θερμοκρασίας έως [°C] 130
Aplicability to : ABARTH|ALFA ROMEO|FIAT|HOLDEN|JEEP|MAN|OPEL|PORSCHE|SAAB|VAUXHALL
- OPEL
- AGILA (A) (H00) [2000-2007] - 1.0 (F68) 998cc/44kw/60hp [2003/08-2007/12]
- CORSA C (X01) [2000-2009] - 1.0 (F08. F68) 998cc/44kw/60hp [2003/06-2009/12]
- CORSA D (S07) [2006-2014] - 1.0 (L08. L68) 998cc/44kw/60hp [2006/07-2010/12]
- AGILA (A) (H00) [2000-2007] - 1.2 16V Twinport (F68) 1229cc/59kw/80hp [2004/07-2007/12]
- ASTRA H (A04) [2004-2014] - 1.2 (L48) 1229cc/59kw/80hp [2005/08-2010/10]
- ASTRA H (A04) [2004-2014] - 1.4 (L48) 1364cc/66kw/90hp [2004/03-2010/10]
- ASTRA H Στέισον βάγκον (A04) [2004-2014] - 1.4 (L35) 1364cc/55kw/75hp [2004/08-2010/10]
- ASTRA H Στέισον βάγκον (A04) [2004-2014] - 1.4 (L35) 1364cc/66kw/90hp [2004/08-2010/10]
- CORSA C (X01) [2000-2009] - 1.4 Twinport (F08. F68) 1364cc/66kw/90hp [2003/06-2009/12]
- CORSA C Κουτί (X01) [2000-2012] - 1.4 (W5L. F08) 1364cc/66kw/90hp [2003/08-2012/06]
- TIGRA TwinTop (X04) [2004-2010] - 1.4 (R97) 1364cc/66kw/90hp [2004/06-2010/12]
- ASTRA G CLASSIC Caravan (F35) [2004-2009] - 1.4 (F35) 1364cc/66kw/90hp [2007/10-2009/07]
- ASTRA A+ H Σεντάν (A04) [2007-2014] - 1.4 (L69) 1364cc/66kw/90hp [2007/02-2010/06]
- ASTRA G Χάτσμπακ (T98) [1998-2009] - 1.4 (F08. F48) 1364cc/66kw/90hp [2007/09-2009/12]
- ASTRA H (A04) [2004-2014] - 1.4 LPG (L48) 1364cc/66kw/90hp [2009/08-2010/10]
- ASTRA H CLASSIC Στέισον βάγκον (A04) [2006-] - 1.4 (L35) 1364cc/66kw/90hp [2009/01-]
- ASTRA H CLASSIC Χάτσμπακ (A04) [2009-] - 1.4 (L48) 1364cc/66kw/90hp [2009/01-]
- ASTRA G Σεντάν (T98) [1998-2009] - 1.4 (F69) 1364cc/66kw/90hp [2007/09-2009/12]
- ASTRA H GTC (A04) [2005-2010] - 1.4 (L08) 1364cc/66kw/90hp [2005/03-2010/10]
- ASTRA H Van (L70) [2004-2013] - 1.4 EcoTec (L70) 1364cc/66kw/90hp [2004/12-2012/12]
- ASTRA H Στέισον βάγκον (A04) [2004-2014] - 1.4 LPG (L35) 1364cc/66kw/90hp [2009/08-2010/10]
- COMBO Tour [2001-2011] - 1.4 1364cc/66kw/90hp [2004/10-2011/12]
- COMBO Αμάξωμα συμπαγές/συνδυαζόμενο [2001-] - 1.4 16V 1364cc/66kw/90hp [2005/08-]
- CORSA C (X01) [2000-2009] - 1.2 Twinport (F08. F68) 1229cc/59kw/80hp [2004/07-2009/12]
- CORSA C Κουτί (X01) [2000-2012] - 1.2 (F08. W5L) 1229cc/59kw/80hp [2005/07-2006/06]
- CORSA D (S07) [2006-2014] - 1.2 (L08. L68) 1229cc/59kw/80hp [2006/07-2014/08]
- CORSA D (S07) [2006-2014] - 1.2 LPG (L08. L68) 1229cc/55kw/75hp [2009/09-2011/12]
- CORSA D (S07) [2006-2014] - 1.2 LPG (L08. L68) 1229cc/59kw/80hp [2006/08-2014/08]
- CORSA D (S07) [2006-2014] - 1.4 (L08. L68) 1364cc/66kw/90hp [2006/07-2014/08]
- CORSA D (S07) [2006-2014] - 1.4 LPG (L08. L68) 1364cc/66kw/90hp [2006/08-2011/12]
- CORSA D Van (S07) [2006-2014] - 1.2 (L08) 1229cc/59kw/80hp [2006/08-2014/08]
- MERIVA A Λιμουζίνα μεγάλου χώρου (X03) [2003-2010] - 1.4 16V Twinport (E75) 1364cc/66kw/90hp [2004/07-2010/05]
- MERIVA A Λιμουζίνα μεγάλου χώρου (X03) [2003-2010] - 1.4 16V Twinport LPG (E75) 1364cc/66kw/90hp [2004/07-2010/05]
- CORSA D (S07) [2006-2014] - 1.4 LPG (L08. L68) 1398cc/64kw/87hp [2009/09-2014/08]
- CORSA D (S07) [2006-2014] - 1.6 Turbo (L08. L68) 1598cc/110kw/150hp [2007/05-2014/08]
- CORSA D (S07) [2006-2014] - 1.6 Turbo (L08. L68) 1598cc/141kw/192hp [2006/11-2014/08]
- CORSA D (S07) [2006-2014] - 1.6 Turbo (L08. L68) 1598cc/155kw/211hp [2011/06-2014/08]
- INSIGNIA A (G09) [2008-2017] - 1.6 Turbo (68) 1598cc/132kw/180hp [2008/07-2017/03]
- INSIGNIA A Sports Tourer (G09) [2008-2017] - 1.6 Turbo (35) 1598cc/132kw/180hp [2009/01-2013/06]
- INSIGNIA A Σεντάν (G09) [2008-2017] - 1.6 Turbo (69) 1598cc/132kw/180hp [2008/07-2017/03]
- ASTRA H GTC (A04) [2005-2010] - 1.6 Turbo (L08) 1598cc/132kw/180hp [2007/02-2010/10]
- ASTRA H (A04) [2004-2014] - 1.6 Turbo (L48) 1598cc/132kw/180hp [2007/02-2010/10]
- ASTRA H TwinTop (A04) [2005-2010] - 1.6 Turbo (L67) 1598cc/132kw/180hp [2007/02-2010/10]
- ASTRA H Στέισον βάγκον (A04) [2004-2014] - 1.6 Turbo (L35) 1598cc/132kw/180hp [2007/02-2010/10]
- MERIVA A Λιμουζίνα μεγάλου χώρου (X03) [2003-2010] - 1.6 Turbo (E75) 1598cc/132kw/180hp [2005/09-2010/05]
- COMBO Combi / Tour (X12) [2012-] - 1.4 (C26. D26. E26. C06) 1368cc/70kw/95hp [2012/02-]
- COMBO Αμάξωμα συμπαγές/συνδυαζόμενο (X12) [2012-] - 1.4 (B05) 1368cc/70kw/95hp [2012/02-]
- ASTRA H (A04) [2004-2014] - 1.4 (L48) 1364cc/55kw/75hp [2004/04-2004/10]
- ASTRA H GTC (A04) [2005-2010] - 1.4 (L08) 1364cc/55kw/75hp [2005/03-2010/10]
- ZAFIRA / ZAFIRA FAMILY B (A05) [2005-2019] - 1.6 CNG Turbo (M75) 1598cc/110kw/150hp [2010/04-2015/04]
- ZAFIRA C (P12) [2011-] - 1.6 CNG (75) 1598cc/110kw/150hp [2011/10-]
- COMBO Combi / Tour (X12) [2012-] - 1.4 (C26. D26. E26. C06) 1368cc/88kw/120hp [2012/02-]
- COMBO Combi / Tour (X12) [2012-] - 1.4 CNG (C26. D26. E26. C05) 1368cc/88kw/120hp [2012/02-]
- COMBO Αμάξωμα συμπαγές/συνδυαζόμενο (X12) [2012-] - 1.4 (B05) 1368cc/88kw/120hp [2012/02-]
- COMBO Αμάξωμα συμπαγές/συνδυαζόμενο (X12) [2012-] - 1.4 CNG (B05) 1368cc/88kw/120hp [2012/02-]
- ZAFIRA B Van (A05) [2005-2015] - 1.6 CNG Turbo (M75) 1598cc/110kw/150hp [2009/02-2015/04]
- ASTRA H (A04) [2004-2014] - 1.4 (L48) 1364cc/59kw/80hp [2004/04-2004/10]
- CORSA CLASSIC Σεντάν [1994-2005] - 1.4 1364cc/66kw/90hp [2000/07-2003/12]
- VAUXHALL
- AGILA Mk I (A) (H00) [2000-2008] - 1.0 12V 998cc/44kw/60hp [2000/02-2006/11]
- CORSA Mk II (C) (X01) [2000-2007] - 1.0 12V (F08. F68) 998cc/44kw/60hp [2003/11-2006/10]
- CORSA Mk III (D) (S07) [2006-2014] - 1.0 (L08) 998cc/44kw/60hp [2006/08-2014/08]
- ASTRA Mk V (H) (A04) [2004-2009] - 1.4 (L48) 1364cc/66kw/90hp [2004/01-2009/05]
- ASTRA Mk V (H) Στέισον βάγκον (A04) [2004-2012] - 1.4 (L35) 1364cc/66kw/90hp [2004/08-2009/03]
- CORSA Mk II (C) (X01) [2000-2007] - 1.4 Twinport (F08. F68) 1364cc/66kw/90hp [2003/06-2006/10]
- CORSAVAN Mk II (C) (X01) [2000-2006] - 1.4 (F08) 1364cc/66kw/89hp [2003/11-2006/06]
- TIGRA TwinTop (X04) [2004-2009] - 1.4 1364cc/66kw/90hp [2004/06-2009/08]
- AGILA Mk I (A) (H00) [2000-2008] - 1.2 16V Twinport 1229cc/59kw/80hp [2004/07-2006/11]
- ASTRA Mk V (H) Sport Hatch (A04) [2005-2010] - 1.4 i 16V (L08) 1364cc/66kw/90hp [2005/03-2010/11]
- ASTRAVAN Mk V (H) (A04) [2005-] - 1.4 i 1364cc/66kw/90hp [2005/03-]
- COMBO Mk II (C) Αμάξωμα συμπαγές/συνδυαζόμενο (F25) [2001-2012] - 1.4 i 16V 1364cc/66kw/90hp [2004/01-2011/11]
- COMBO TOUR Mk II (C) (F25) [2001-2012] - 1.4 1364cc/66kw/90hp [2004/10-2010/09]
- CORSA Mk II (C) (X01) [2000-2007] - 1.2 Twinport (F08. F68) 1229cc/59kw/80hp [2004/07-2006/10]
- CORSA Mk III (D) (S07) [2006-2014] - 1.2 (L08) 1229cc/59kw/80hp [2006/08-2014/08]
- CORSA Mk III (D) (S07) [2006-2014] - 1.2 LPG (L08) 1229cc/59kw/80hp [2009/09-2014/08]
- CORSA Mk III (D) (S07) [2006-2014] - 1.4 (L08) 1364cc/66kw/90hp [2006/08-2014/08]
- CORSA Mk III (D) (S07) [2006-2014] - 1.4 LPG (L08) 1364cc/66kw/90hp [2006/07-2014/08]
- CORSAVAN Mk II (C) (X01) [2000-2006] - 1.2 16V (F08) 1229cc/59kw/80hp [2004/07-2006/11]
- CORSAVAN Mk II (C) (X01) [2000-2006] - 1.2 16V Dualfuel (F08) 1229cc/59kw/80hp [2004/07-2005/12]
- CORSAVAN Mk III (D) (S07) [2006-] - 1.2 1229cc/59kw/80hp [2009/07-]
- MERIVA A (X03) [2003-2010] - 1.4 16V Twinport 1364cc/66kw/90hp [2003/01-2010/06]
- CORSA Mk III (D) (S07) [2006-2014] - 1.6 SRi (L08) 1598cc/110kw/150hp [2007/05-2014/08]
- CORSA Mk III (D) (S07) [2006-2014] - 1.6 VXR (L08) 1598cc/141kw/192hp [2006/11-2014/08]
- CORSA Mk III (D) (S07) [2006-2014] - 1.6 VXR (L08) 1598cc/150kw/204hp [2011/06-2014/08]
- CORSA Mk III (D) (S07) [2006-2014] - 1.6 VXR (L08) 1598cc/155kw/211hp [2011/06-2012/03]
- INSIGNIA Mk I (A) Sports Tourer (G09) [2008-2017] - 1.6 Turbo (35) 1598cc/132kw/180hp [2009/01-2017/05]
- INSIGNIA Mk I (A) Σεντάν (G09) [2008-2017] - 1.6 Turbo (69) 1598cc/132kw/180hp [2009/01-2017/05]
- INSIGNIA Mk I (A) Χάτσμπακ (G09) [2008-2017] - 1.6 Turbo (68) 1598cc/132kw/180hp [2009/01-2017/05]
- ASTRA Mk V (H) (A04) [2004-2009] - 1.6 Turbo (L48) 1598cc/132kw/180hp [2006/09-2009/09]
- ASTRA Mk V (H) Sport Hatch (A04) [2005-2010] - 1.6 (L08) 1598cc/132kw/179hp [2006/10-2010/11]
- ASTRA Mk V (H) Στέισον βάγκον (A04) [2004-2012] - 1.6 (L35) 1598cc/132kw/180hp [2004/08-2009/03]
- MERIVA A (X03) [2003-2010] - 1.6 Turbo 1598cc/132kw/180hp [2006/05-2010/06]
- ZAFIRA Mk III (P12) [2011-2018] - 1.6 CNG (75) 1598cc/110kw/150hp [2011/10-2018/08]
- COMBO Mk II (C) Αμάξωμα συμπαγές/συνδυαζόμενο (F25) [2001-2012] - 1.4 16V 1389cc/66kw/90hp [2001/10-2007/05]
- COMBO Mk III (D) Αμάξωμα συμπαγές/συνδυαζόμενο (X12) [2011-] - 1.4 1368cc/70kw/95hp [2011/11-]
- CORSA Mk III (D) (S07) [2006-2014] - 1.6 VXR (L08) 1598cc/154kw/209hp [2011/06-2014/08]
- SAAB
- 9-5 (YS3G) [2010-2012] - 1.6 Turbo 1598cc/132kw/180hp [2010/05-2012/01]
- ALFA ROMEO
- GIULIETTA (940_) [2010-] - 1.4 TB (940FXB1A) 1368cc/125kw/170hp [2010/04-]
- GIULIETTA (940_) [2010-] - 1.4 TB (940.FYA1A) 1368cc/110kw/150hp [2014/09-]
- GIULIETTA (940_) [2010-] - 1.4 TB (940FXG1A) 1368cc/120kw/163hp [2010/04-]
- GIULIETTA Κουτί (940_) [2011-] - 1.4 (940FXB1A) 1368cc/125kw/170hp [2011/04-]
- MITO (955_) [2008-] - 1.4 TB (955.AYB11. 955.AXB1B) 1368cc/103kw/140hp [2013/12-]
- GT (937_) [2003-2010] - 2.0 JTS (937CXH1A. 937CXH11) 1970cc/121kw/165hp [2003/11-2010/09]
- MITO (955_) [2008-] - 1.4 (955AXB1B) 1368cc/58kw/78hp [2008/08-2013/08]
- MITO (955_) [2008-] - 1.4 (955AXB1B. 955.AXF1B) 1368cc/70kw/95hp [2008/09-2013/08]
- MITO (955_) [2008-] - 1.4 MultiAir (955AXL1B) 1368cc/77kw/105hp [2009/09-2013/08]
- MITO (955_) [2008-] - 1.4 Turbo MultiAir (955AXM1A. 955AXR11) 1368cc/99kw/135hp [2009/10-]
- MITO (955_) [2008-] - 1.4 Turbo MultiAir (955AXS1B. 955AXS11) 1368cc/120kw/163hp [2009/10-]
- MITO (955_) [2008-] - 1.4 TJet (955AXG1A) 1368cc/88kw/120hp [2008/08-]
- MITO (955_) [2008-] - 0.9 (955AXY1B. 955AXZ1B) 875cc/74kw/101hp [2013/12-]
- MITO (955_) [2008-] - 0.9 TwinAir (955.AXW1B) 875cc/63kw/86hp [2011/07-]
- MITO (955_) [2008-] - 0.9 TwinAir (955AXY1B) 875cc/77kw/105hp [2013/04-]
- GIULIETTA (940_) [2010-] - 1.4 TB (940FXA1A) 1368cc/88kw/120hp [2010/04-]
- GIULIETTA (940_) [2010-] - 1.4 TB (940FXN1A. 940FXU1A) 1368cc/77kw/105hp [2011/04-]
- GIULIETTA (940_) [2010-] - 1.4 TB (940FXF1A) 1368cc/85kw/116hp [2010/04-2016/02]
- MITO (955_) [2008-] - 1.4 TJet (955AXA1B) 1368cc/114kw/155hp [2008/08-2011/06]
- MITO (955_) [2008-] - 1.4 TJet (955AXD1B) 1368cc/110kw/150hp [2008/09-2011/06]
- 159 (939_) [2005-2012] - 1.8 TBi (939.AXN1B) 1742cc/147kw/200hp [2009/05-2012/12]
- 159 Sportwagon (939_) [2005-2012] - 1.8 TBi (939BXN1B) 1742cc/147kw/200hp [2009/07-2011/11]
- BRERA (939_) [2006-2011] - 1.8 TBi (939DXN1B) 1742cc/147kw/200hp [2009/05-2010/06]
- GIULIETTA (940_) [2010-] - 1.8 TBi (940FXC1A) 1742cc/173kw/235hp [2010/04-2016/02]
- MITO (955_) [2008-] - 1.4 Bifuel (955AXG1A) 1368cc/88kw/120hp [2009/01-]
- MITO (955_) [2008-] - 1.4 Bifuel (955.AXG1A) 1368cc/88kw/120hp [2016/04-]
- GIULIETTA (940_) [2010-] - 1.4 BiFuel (940FXA1A. 940FXT1A) 1368cc/88kw/120hp [2011/12-2017/02]
- GT (937_) [2003-2010] - 2.0 JTS (937CXH11. 937CXH1A. 937CXT1A) 1970cc/119kw/162hp [2006/12-2010/09]
- GIULIETTA (940_) [2010-] - 1.8 TBi (940FXR11) 1742cc/177kw/241hp [2013/09-]
- 4C (960_) [2013-] - 1.8 (960.CXB1A) 1742cc/177kw/241hp [2013/03-]
- GIULIETTA (940_) [2010-] - 1.8 TBi (940FXC1A) 1742cc/169kw/230hp [2010/04-2013/09]
- 4C SPIDER (961_) [2014-] - 1.8 (960.DXB1A. 960CXB1A) 1742cc/177kw/241hp [2014/10-]
- GIULIETTA Κουτί (940_) [2011-] - 1.4 (940FXA1A) 1368cc/88kw/120hp [2011/04-2016/02]
- GIULIETTA Κουτί (940_) [2011-] - 1.8 (940FXC1A) 1742cc/173kw/235hp [2011/04-2016/02]
- FIAT
- 500X (334_) [2014-] - 1.4 (334AXC1B. 334AXC11) 1368cc/103kw/140hp [2014/09-]
- 500X (334_) [2014-] - 1.4 4x4 (334AXF22) 1368cc/125kw/170hp [2015/02-]
- 500L (351_. 352_) [2012-] - 1.4 (199LYB1B) 1368cc/70kw/95hp [2012/09-]
- DOBLO Cargo (263_) [2010-] - 1.4 1368cc/70kw/95hp [2010/02-]
- DOBLO Combi (263_) [2009-] - 1.4 (263AXA1A) 1368cc/70kw/95hp [2010/02-]
- DOBLO Πλατφόρμα/σασσί (263_) [2010-] - 1.4 1368cc/70kw/95hp [2010/04-]
- EGEA Σεντάν (356_) [2015-] - 1.4 (356SXA1B) 1368cc/70kw/95hp [2015/10-]
- EGEA Στέισον βάγκον (356_) [2016-] - 1.4 (356WXA1B) 1368cc/70kw/95hp [2016/03-]
- EGEA Χάτσμπακ (356_) [2016-] - 1.4 (356HXA1B) 1368cc/70kw/95hp [2016/03-]
- PUNTO (199_) [2012-] - 1.4 Multi Air 1368cc/77kw/105hp [2012/03-]
- PUNTO EVO (199_) [2008-] - 1.4 16V 1368cc/77kw/105hp [2009/10-2012/02]
- BRAVO II (198_) [2006-] - 1.4 16V (198AXS1B) 1368cc/103kw/140hp [2010/04-2014/12]
- PUNTO (199_) [2012-] - 1.4 Turbo Multi Air 1368cc/99kw/135hp [2012/03-]
- PUNTO EVO (199_) [2008-] - 1.4 16V (199AXW1A) 1368cc/99kw/135hp [2009/10-2012/02]
- PUNTO (188_) [1999-2012] - 1.2 16V 80 (188.233. .235. .253. .255. .333. .353. .639.... 1242cc/59kw/80hp [1999/09-2006/04]
- IDEA (350_) [2003-] - 1.2 16V 1242cc/59kw/80hp [2004/01-]
- IDEA (350_) [2003-] - 1.4 1368cc/66kw/90hp [2003/12-]
- IDEA (350_) [2003-] - 1.4 16V 1368cc/70kw/95hp [2004/01-]
- PUNTO (188_) [1999-2012] - 1.4 1368cc/70kw/95hp [2003/09-2012/03]
- BRAVO II (198_) [2006-] - 1.4 T-Jet (198AXG1B) 1368cc/88kw/120hp [2007/10-2014/12]
- GRANDE PUNTO (199_) [2005-] - 1.4 T-Jet (199AXM1A. 199BXM1A. 199BXN1A) 1368cc/88kw/120hp [2007/09-]
- LINEA (323_. 110_) [2006-] - 1.4 T-Jet (323AXC1A) 1368cc/88kw/120hp [2007/05-]
- STILO (192_) [2001-2010] - 1.2 16V (192_XA1B) 1242cc/59kw/80hp [2002/02-2006/11]
- STILO (192_) [2001-2010] - 1.4 16V (192AXH1B. 192BXH1B) 1368cc/70kw/95hp [2003/10-2006/12]
- STILO (192_) [2001-2010] - 1.4 16V 1368cc/66kw/90hp [2005/03-2006/11]
- STILO Multi Wagon (192_) [2003-2008] - 1.4 16V 1368cc/66kw/90hp [2005/03-2008/08]
- STILO Multi Wagon (192_) [2003-2008] - 1.4 16V 1368cc/70kw/95hp [2004/01-2008/08]
- BRAVO II (198_) [2006-] - 1.4 (198AXA1B) 1368cc/66kw/90hp [2007/04-2014/12]
- BRAVO II (198_) [2006-] - 1.4 LPG (198AXA1B) 1368cc/66kw/90hp [2008/12-2014/12]
- 500 (312_) [2007-] - 1.4 (312AXC1B. 312CXC1B) 1368cc/74kw/100hp [2007/10-]
- 500 C (312_) [2009-] - 1.4 (312CXC1B. 312AXC1B) 1368cc/74kw/100hp [2009/09-]
- 500 (312_) [2007-] - 0.9 (312AXG1A. 312.AXG11) 875cc/63kw/86hp [2010/07-]
- 500 C (312_) [2009-] - 0.9 (312AG1A) 875cc/63kw/86hp [2009/09-]
- 500 (312_) [2007-] - 0.9 (312AXM1B) 875cc/77kw/105hp [2013/10-]
- 500 C (312_) [2009-] - 0.9 (312AXM1B) 875cc/77kw/105hp [2013/12-]
- 500L (351_. 352_) [2012-] - 0.9 (199LYC1B) 875cc/77kw/105hp [2012/09-]
- PANDA (312_. 319_) [2012-] - 0.9 (312PXG1A) 875cc/63kw/86hp [2012/02-]
- PANDA (312_. 319_) [2012-] - 0.9 4x4 (312PXG1A) 875cc/63kw/86hp [2012/09-]
- PANDA (312_. 319_) [2012-] - 0.9 Natural Power (312PXG1A) 875cc/63kw/86hp [2012/07-]
- PANDA VAN (312_. 519_) [2012-] - 0.9 (312DXG1A) 875cc/63kw/86hp [2012/02-]
- PANDA VAN (312_. 519_) [2012-] - 0.9 4x4 (312CXG2B) 875cc/63kw/86hp [2012/09-]
- PANDA VAN (312_. 519_) [2012-] - 0.9 Natural Power (312DXG1A) 875cc/63kw/86hp [2012/07-]
- PUNTO (199_) [2012-] - 0.9 875cc/74kw/101hp [2013/12-]
- PUNTO (199_) [2012-] - 0.9 875cc/77kw/105hp [2013/07-]
- PUNTO (199_) [2012-] - 0.9 Bifuel 875cc/63kw/86hp [2012/03-]
- PUNTO (199_) [2012-] - 0.9 Twinair Turbo 875cc/63kw/86hp [2012/03-]
- PUNTO Van (199_) [2008-] - 0.9 Twinair Turbo 875cc/63kw/86hp [2012/03-]
- 500L (351_. 352_) [2012-] - 1.4 (199LYF1B) 1368cc/88kw/120hp [2013/10-]
- 500L (351_. 352_) [2012-] - 1.4 LPG (199LYF1B) 1368cc/88kw/120hp [2014/02-]
- DOBLO Cargo (263_) [2010-] - 1.4 1368cc/88kw/120hp [2011/10-]
- DOBLO Cargo (263_) [2010-] - 1.4 Natural Power 1368cc/88kw/120hp [2010/06-]
- DOBLO Combi (263_) [2009-] - 1.4 (263AXG1B. 263AXG1A) 1368cc/88kw/120hp [2011/10-]
- DOBLO Combi (263_) [2009-] - 1.4 Natural Power (263AXG1B) 1368cc/88kw/120hp [2010/02-]
- DOBLO Πλατφόρμα/σασσί (263_) [2010-] - 1.4 1368cc/88kw/120hp [2011/10-]
- DOBLO Πλατφόρμα/σασσί (263_) [2010-] - 1.4 Natural Power 1368cc/88kw/120hp [2010/06-]
- EGEA Σεντάν (356_) [2015-] - 1.4 LPG (356SXF1B) 1368cc/88kw/120hp [2016/05-]
- EGEA Στέισον βάγκον (356_) [2016-] - 1.4 (356WXF1B) 1368cc/88kw/120hp [2016/03-]
- EGEA Στέισον βάγκον (356_) [2016-] - 1.4 LPG (356WXF1B) 1368cc/88kw/120hp [2016/05-]
- EGEA Χάτσμπακ (356_) [2016-] - 1.4 (356HXF1B) 1368cc/88kw/120hp [2016/03-]
- EGEA Χάτσμπακ (356_) [2016-] - 1.4 LPG (356HXF1B) 1368cc/88kw/120hp [2016/05-]
- PANDA (312_. 319_) [2012-] - 0.9 4x4 (312PXR2B) 875cc/66kw/90hp [2014/06-]
- GRANDE PUNTO (199_) [2005-] - 1.4 16V (199BXG1B. 199AXG1B) 1368cc/70kw/95hp [2005/10-2011/08]
- PANDA (169_) [2003-] - 1.4 (169AXE1B) 1368cc/74kw/100hp [2006/10-]
- 500X (334_) [2014-] - 1.4 (334AXC1B) 1368cc/100kw/136hp [2014/09-]
- 500X (334_) [2014-] - 1.4 LPG (334AXL1B) 1368cc/88kw/120hp [2017/03-]
- BRAVO II (198_) [2006-] - 1.4 T-Jet (198AXF1B) 1368cc/110kw/150hp [2007/09-2014/12]
- PANDA (312_. 319_) [2012-] - 0.9 (312PXN1A. 312PXN11) 875cc/57kw/78hp [2012/02-]
- BRAVO I (182_) [1995-2001] - 1.2 16V 80 1242cc/59kw/80hp [2000/10-2001/10]
- ALBEA (178_. 172_) [1996-2016] - 1.2 1242cc/59kw/80hp [2001/09-2009/12]
- PALIO Weekend (178_. 173_. 373_. 374_) [1996-] - 1.2 (1788891. 1789491. 1730250) 1242cc/59kw/80hp [2001/09-2004/10]
- BRAVA (182_) [1995-2003] - 1.2 16V 80 1242cc/59kw/80hp [2000/10-2001/10]
- 124 Spider (348_) [2016-] - 1.4 (348) 1368cc/103kw/140hp [2016/03-]
- 500X (334_) [2014-] - 1.4 4x4 (334AXF22) 1368cc/120kw/163hp [2015/02-]
- 500 (312_) [2007-] - 0.9 (312AXN1A) 875cc/59kw/80hp [2013/12-]
- PANDA (312_. 319_) [2012-] - 0.9 (312PXN1A. 312PXN11) 875cc/59kw/80hp [2013/12-]
- 500 C (312_) [2009-] - 0.9 (312AXN1A. 312AXN11) 875cc/59kw/80hp [2013/12-]
- 500L (351_. 352_) [2012-] - 0.9 Natural Power (199LYC1B) 875cc/59kw/80hp [2017/04-]
- 500L (351_. 352_) [2012-] - 0.9 Natural Power (199LYC1B) 875cc/63kw/86hp [2013/03-]
- PANDA (312_. 319_) [2012-] - 0.9 Natural Power (312PXN1A) 875cc/59kw/80hp [2015/01-]
- PANDA VAN (312_. 519_) [2012-] - 0.9 (312.PXN1A) 875cc/59kw/80hp [2013/11-]
- PANDA VAN (312_. 519_) [2012-] - 0.9 Natural Power (312CXG1A) 875cc/59kw/80hp [2015/01-]
- STILO VAN (192_) [2001-2008] - 1.4 (192DXH1B) 1368cc/70kw/95hp [2004/01-2008/08]
- PANDA (312_. 319_) [2012-] - 0.9 Natural Power (312PXN1A) 875cc/51kw/69hp [2019/03-]
- GRANDE PUNTO (199_) [2005-] - 1.4 16V 1368cc/112kw/152hp [2007/09-2012/07]
- 500 (312_) [2007-] - 1.4 (301J410) 1368cc/75kw/102hp [2008/09-]
- 500 C (312_) [2009-] - 1.4 (301J410) 1368cc/75kw/102hp [2011/09-]
- PALIO (178_) [1996-] - 1.0 994cc/56kw/76hp [1996/04-2003/10]
- PUNTO (188_) [1999-2012] - 1.4 (188AXM1A. 188BXM1A) 1368cc/71kw/97hp [2005/11-2012/03]
- 500 (312_) [2007-] - 1.4 Flex (3019530) 1368cc/79kw/107hp [2011/08-]
- 500L (351_. 352_) [2012-] - 1.4 1368cc/118kw/160hp [2013/09-]
- IDEA Van (350_) [2003-] - 1.4 (350BXA1A) 1368cc/70kw/95hp [2004/10-2012/12]
- PALIO (178_) [1996-] - 1.2 1242cc/59kw/80hp [2000/03-2012/01]
- DOBLO MPV (119_. 223_) [2001-] - 1.2 16V 1242cc/59kw/80hp [2005/09-]
- BRAVO II (198_) [2006-] - 1.4 T-Jet (198257) 1368cc/112kw/152hp [2011/06-2016/12]
- LINEA (323_. 110_) [2006-] - 1.4 T-Jet 1368cc/112kw/152hp [2008/10-2012/12]
- PALIO (178_) [1996-] - 1.2 (178BYE1AAT) 1242cc/60kw/82hp [2001/06-2007/10]
- DOBLO Cargo (223_) [2000-] - 1.2 16V 1242cc/59kw/80hp [2001/11-2006/01]
- PALIO (178_) [1996-] - 1.0 16V 999cc/52kw/70hp [2000/08-2003/02]
- PALIO Weekend (178_. 173_. 373_. 374_) [1996-] - 1.0 RST (1730240) 999cc/51kw/70hp [2000/09-2003/02]
- LINEA (323_. 110_) [2006-] - 1.4 1368cc/66kw/90hp [2008/12-]
- PUNTO EVO (199_) [2008-] - 1.4 1368cc/66kw/90hp [2014/10-]
- ALBEA (178_. 172_) [1996-2016] - 1.2 (178CYE1AAT) 1242cc/60kw/82hp [2001/06-2007/10]
- ALBEA (178_. 172_) [1996-2016] - 1.0 16V 999cc/52kw/71hp [2000/03-2003/02]
- ALBEA (178_. 172_) [1996-2016] - 1.0 999cc/55kw/75hp [1999/06-2012/12]
- PALIO Weekend (178_. 173_. 373_. 374_) [1996-] - 1.3 (1788891. 1789491. 1730250) 1242cc/59kw/80hp [2000/03-2003/02]
- JEEP
- RENEGADE SUV (BU. B1) [2014-] - 1.4 1368cc/103kw/140hp [2014/07-]
- RENEGADE SUV (BU. B1) [2014-] - 1.4 4x4 1368cc/125kw/170hp [2014/07-]
- RENEGADE SUV (BU. B1) [2014-] - 2.4 4x4 2360cc/134kw/182hp [2016/06-]
- RENEGADE SUV (BU. B1) [2014-] - 1.4 1368cc/100kw/136hp [2016/01-]
- RENEGADE SUV (BU. B1) [2014-] - 2.4 4x4 2360cc/137kw/186hp [2014/07-]
- RENEGADE VAN (BU. B1) [2014-] - 1.4 1368cc/103kw/140hp [2014/07-]
- RENEGADE VAN (BU. B1) [2014-] - 1.4 4x4 1368cc/125kw/170hp [2014/07-]
- PORSCHE
- CAYENNE (9PA) [2002-2010] - 3.0 TDI 2967cc/176kw/240hp [2009/02-2010/09]
- CAYENNE (9PA) [2002-2010] - GTS 4.8 4806cc/298kw/405hp [2007/10-2010/09]
- CAYENNE (9PA) [2002-2010] - S 4.8 4806cc/283kw/385hp [2007/02-2010/09]
- CAYENNE (9PA) [2002-2010] - Turbo S 4.8 4806cc/368kw/500hp [2007/02-2010/09]
- CAYENNE (9PA) [2002-2010] - Turbo S 4.8 4806cc/397kw/540hp [2007/02-2010/09]
- CAYENNE (9PA) [2002-2010] - Turbo S 4.8 4806cc/404kw/550hp [2008/08-2010/09]
- CAYMAN (987) [2005-2013] - 2.7 2687cc/180kw/245hp [2006/07-2009/12]
- 911 (997) [2004-2013] - 3.6 GT 2 3600cc/390kw/530hp [2007/09-2012/12]
- 911 Καμπριολέ (997) [2005-2012] - 3.6 Turbo 3600cc/353kw/480hp [2007/09-2009/12]
- 911 (997) [2004-2013] - 3.6 GT2 3600cc/305kw/415hp [2006/03-2009/12]
- MACAN (95B) [2014-] - 3.0 S 2997cc/250kw/340hp [2014/02-2018/09]
- MACAN (95B) [2014-] - 3.6 Turbo 3604cc/294kw/400hp [2014/02-2018/09]
- CAYENNE (9PA) [2002-2010] - Turbo S 4.5 4511cc/368kw/500hp [2004/01-2007/09]
- CAYENNE (92A) [2010-] - 3.6 S 3604cc/309kw/420hp [2014/10-]
- CAYENNE (92A) [2010-] - 3.6 GTS 3604cc/324kw/440hp [2015/02-]
- CAYENNE (92A) [2010-] - 4.8 GTS 4806cc/309kw/420hp [2012/06-]
- CAYENNE (92A) [2010-] - 4.8 S 4806cc/294kw/400hp [2010/06-]
- CAYENNE (92A) [2010-] - 4.8 Turbo 4806cc/368kw/500hp [2010/06-]
- CAYENNE (92A) [2010-] - 4.8 Turbo 4806cc/382kw/520hp [2014/10-]
- CAYENNE (92A) [2010-] - 4.8 Turbo 4806cc/397kw/540hp [2010/06-]
- CAYENNE (92A) [2010-] - 4.8 Turbo S 4806cc/405kw/550hp [2012/10-]
- MACAN (95B) [2014-] - 3.0 GTS 2997cc/265kw/360hp [2015/10-2018/09]
- 911 (991) [2011-] - 3.4 Carrera 3436cc/257kw/350hp [2011/12-]
- 911 (991) [2011-] - 3.4 Carrera 4 3436cc/257kw/350hp [2012/11-]
- 911 Καμπριολέ (991) [2012-] - 3.4 Carrera 3436cc/257kw/350hp [2012/03-]
- 911 Καμπριολέ (991) [2012-] - 3.4 Carrera 4 3436cc/257kw/350hp [2012/11-]
- 911 Τάργκα (991) [2014-] - 3.4 Carrera 4 3436cc/257kw/350hp [2014/05-]
- PANAMERA (970) [2009-2017] - 4.8 Turbo S 4806cc/404kw/550hp [2011/05-2013/07]
- PANAMERA (970) [2009-2017] - 4.8 Turbo 4806cc/368kw/500hp [2009/09-2013/07]
- BOXSTER (986) [1996-2004] - S 3.2 3179cc/196kw/266hp [2004/01-2004/12]
- 911 (997) [2004-2013] - 3.8 Turbo 3800cc/368kw/500hp [2009/09-2012/12]
- 911 Καμπριολέ (997) [2005-2012] - 3.8 Turbo 3800cc/368kw/500hp [2009/09-2012/12]
- CAYENNE (92A) [2010-] - 4.8 Turbo S 4806cc/419kw/570hp [2015/01-]
- PANAMERA (970) [2009-2017] - 3.0 4S 2997cc/309kw/420hp [2013/07-2016/10]
- PANAMERA (970) [2009-2017] - 3.0 S 2997cc/309kw/420hp [2013/07-2016/10]
- PANAMERA (970) [2009-2017] - 3.6 3605cc/220kw/300hp [2010/05-2013/07]
- PANAMERA (970) [2009-2017] - 3.6 3605cc/228kw/310hp [2013/07-2016/10]
- PANAMERA (970) [2009-2017] - 3.6 4 3605cc/220kw/300hp [2010/05-2013/07]
- PANAMERA (970) [2009-2017] - 3.6 4 3605cc/228kw/310hp [2013/07-2016/10]
- PANAMERA (970) [2009-2017] - 4.8 4S 4806cc/294kw/400hp [2009/09-2013/07]
- PANAMERA (970) [2009-2017] - 4.8 GTS 4806cc/316kw/430hp [2012/01-2015/12]
- PANAMERA (970) [2009-2017] - 4.8 GTS 4806cc/324kw/440hp [2013/07-2016/10]
- PANAMERA (970) [2009-2017] - 4.8 S 4806cc/294kw/400hp [2009/09-2013/07]
- PANAMERA (970) [2009-2017] - 4.8 Turbo 4806cc/382kw/520hp [2013/07-2016/10]
- PANAMERA (970) [2009-2017] - 4.8 Turbo 4806cc/397kw/540hp [2010/08-2013/07]
- PANAMERA (970) [2009-2017] - 4.8 Turbo S 4806cc/419kw/570hp [2013/07-2016/10]
- 911 (991) [2011-] - 3.0 Carrera 2981cc/272kw/370hp [2015/11-]
- 911 (991) [2011-] - 3.0 Carrera 4 2981cc/272kw/370hp [2015/11-]
- 911 (991) [2011-] - 3.0 Carrera 4S 2981cc/309kw/420hp [2015/11-]
- 911 (991) [2011-] - 3.0 Carrera S 2981cc/309kw/420hp [2015/11-]
- 911 (991) [2011-] - 3.8 Carrera 4S / 4 GTS 3800cc/316kw/430hp [2012/11-]
- 911 (991) [2011-] - 3.8 Carrera S / GTS 3800cc/316kw/430hp [2012/07-]
- 911 (991) [2011-] - 3.8 Carrera 4S 3800cc/294kw/400hp [2012/11-]
- 911 (991) [2011-] - 3.8 Carrera S 3800cc/294kw/400hp [2011/12-]
- 911 (991) [2011-] - 3.8 GT3 3799cc/350kw/475hp [2013/08-]
- 911 (991) [2011-] - 3.8 Turbo 3800cc/383kw/520hp [2013/09-]
- 911 (991) [2011-] - 3.8 Turbo 3800cc/397kw/540hp [2016/01-]
- 911 (991) [2011-] - 3.8 Turbo S 3800cc/412kw/560hp [2013/09-]
- 911 (991) [2011-] - 3.8 Turbo S 3800cc/427kw/580hp [2016/01-]
- 911 (997) [2004-2013] - 3.6 Carrera 3614cc/254kw/345hp [2008/06-2011/12]
- 911 (991) [2011-] - 4.0 GT3 RS 3996cc/368kw/500hp [2015/04-]
- 911 (997) [2004-2013] - 3.6 Carrera 4 3614cc/254kw/345hp [2008/06-2012/12]
- 911 (997) [2004-2013] - 3.6 GT2 RS 3600cc/456kw/620hp [2010/05-2012/12]
- 911 (997) [2004-2013] - 3.8 Carrera 4S / 4 GTS 3800cc/300kw/408hp [2009/06-2012/12]
- 911 (997) [2004-2013] - 3.8 Carrera 4S 3800cc/283kw/385hp [2008/06-2012/12]
- 911 (997) [2004-2013] - 3.8 Carrera S / GTS 3800cc/300kw/408hp [2009/06-2011/12]
- 911 (997) [2004-2013] - 3.8 Carrera S 3800cc/283kw/385hp [2008/06-2011/12]
- 911 (997) [2004-2013] - 3.8 GT3 3797cc/320kw/435hp [2009/05-2011/12]
- 911 (997) [2004-2013] - 3.8 GT3 RS 3797cc/331kw/450hp [2009/08-2011/12]
- 911 (997) [2004-2013] - 3.8 Turbo S 3800cc/390kw/530hp [2010/02-2012/12]
- 911 (997) [2004-2013] - 4.0 GT3 RS 3996cc/368kw/500hp [2011/07-2012/12]
- 911 Καμπριολέ (991) [2012-] - 3.0 Carrera 2981cc/272kw/370hp [2015/11-]
- 911 Καμπριολέ (991) [2012-] - 3.0 Carrera 4 2981cc/272kw/370hp [2015/11-]
- 911 Καμπριολέ (991) [2012-] - 3.0 Carrera 4S 2981cc/309kw/420hp [2015/11-]
- 911 Καμπριολέ (991) [2012-] - 3.8 Carrera 4S / 4 GTS 3800cc/316kw/430hp [2012/11-]
- 911 Καμπριολέ (991) [2012-] - 3.0 Carrera S 2981cc/309kw/420hp [2015/11-]
- 911 Καμπριολέ (991) [2012-] - 3.8 Carrera 4S 3800cc/294kw/400hp [2012/11-]
- 911 Καμπριολέ (991) [2012-] - 3.8 Carrera S / GTS 3800cc/316kw/430hp [2012/07-]
- 911 Καμπριολέ (991) [2012-] - 3.8 Carrera S 3800cc/294kw/400hp [2012/03-]
- 911 Καμπριολέ (991) [2012-] - 3.8 Turbo 3800cc/383kw/520hp [2013/12-]
- 911 Καμπριολέ (991) [2012-] - 3.8 Turbo 3800cc/397kw/540hp [2016/01-]
- 911 Καμπριολέ (991) [2012-] - 3.8 Turbo S 3800cc/412kw/560hp [2013/12-]
- 911 Καμπριολέ (991) [2012-] - 3.8 Turbo S 3800cc/427kw/580hp [2016/01-]
- 911 Καμπριολέ (997) [2005-2012] - 3.6 Carrera 3614cc/254kw/345hp [2008/06-2011/12]
- 911 Καμπριολέ (997) [2005-2012] - 3.6 Carrera 4 3614cc/254kw/345hp [2008/06-2012/12]
- 911 Καμπριολέ (997) [2005-2012] - 3.8 Carrera 4S / 4 GTS 3800cc/300kw/408hp [2009/06-2012/12]
- 911 Καμπριολέ (997) [2005-2012] - 3.8 Carrera 4S 3800cc/283kw/385hp [2008/06-2012/12]
- 911 Καμπριολέ (997) [2005-2012] - 3.8 Carrera S / GTS 3800cc/300kw/408hp [2009/06-2011/12]
- 911 Καμπριολέ (997) [2005-2012] - 3.8 Carrera S 3800cc/283kw/385hp [2008/06-2011/12]
- 911 Καμπριολέ (997) [2005-2012] - 3.8 Turbo S 3800cc/390kw/530hp [2010/02-2012/12]
- 911 Τάργκα (991) [2014-] - 3.0 4 2981cc/272kw/370hp [2015/11-]
- 911 Τάργκα (991) [2014-] - 3.0 4S 2981cc/309kw/420hp [2015/11-]
- 911 Τάργκα (991) [2014-] - 3.8 Carrera 4S / 4 GTS 3800cc/316kw/430hp [2014/05-]
- 911 Τάργκα (991) [2014-] - 3.8 Carrera 4S 3800cc/294kw/400hp [2014/05-]
- 911 Τάργκα (997) [2006-2012] - 3.6 Carrera 4 3614cc/254kw/345hp [2008/10-2012/12]
- 911 Τάργκα (997) [2006-2012] - 3.8 Carrera 4S 3800cc/283kw/385hp [2008/10-2012/12]
- BOXSTER (981) [2012-] - 2.7 2706cc/195kw/265hp [2012/04-]
- BOXSTER (981) [2012-] - GTS 3.4 3436cc/243kw/330hp [2014/02-]
- BOXSTER (981) [2012-] - S 3.4 3436cc/232kw/315hp [2012/04-]
- BOXSTER (987) [2004-2013] - 2.9 2893cc/188kw/255hp [2009/06-2012/03]
- BOXSTER (987) [2004-2013] - S 3.4 3436cc/228kw/310hp [2009/06-2011/12]
- BOXSTER Spyder (987) [2007-2011] - 3.4 3436cc/235kw/320hp [2010/02-2011/12]
- CAYMAN (981) [2013-] - 2.7 2706cc/202kw/275hp [2013/03-]
- CAYMAN (981) [2013-] - 3.8 GT4 3800cc/283kw/385hp [2015/01-]
- CAYMAN (981) [2013-] - GTS 3.4 3436cc/250kw/340hp [2014/02-]
- CAYMAN (981) [2013-] - S 3.4 3436cc/239kw/325hp [2013/03-]
- CAYMAN (987) [2005-2013] - 2.9 2893cc/195kw/265hp [2009/02-2012/12]
- CAYMAN (987) [2005-2013] - R 3.4 3436cc/243kw/330hp [2010/11-2012/12]
- CAYMAN (987) [2005-2013] - S 3.4 3436cc/235kw/320hp [2009/02-2013/06]
- CAYMAN (987) [2005-2013] - S 3.4 Sport 3387cc/223kw/303hp [2008/08-2012/12]
- 911 (996) [1997-2005] - 3.6 GT2 3600cc/340kw/462hp [2001/04-2005/08]
- 911 (996) [1997-2005] - 3.6 GT2 3600cc/355kw/483hp [2003/10-2005/08]
- 911 (996) [1997-2005] - 3.6 GT3 3600cc/265kw/360hp [1999/03-2005/08]
- 911 (996) [1997-2005] - 3.6 Turbo 4 3600cc/309kw/420hp [2000/06-2005/08]
- 911 (996) [1997-2005] - 3.6 Turbo 4S 3600cc/331kw/450hp [2003/02-2005/08]
- BOXSTER (986) [1996-2004] - 2.5 2480cc/150kw/204hp [1996/09-1999/08]
- BOXSTER (986) [1996-2004] - 2.7 2687cc/162kw/220hp [1999/08-2002/07]
- BOXSTER (986) [1996-2004] - S 3.2 3179cc/185kw/252hp [1999/08-2002/07]
- BOXSTER (986) [1996-2004] - S 3.2 3179cc/191kw/260hp [2002/07-2004/12]
- MACAN (95B) [2014-] - 3.6 Turbo 3604cc/324kw/440hp [2016/09-]
- BOXSTER (986) [1996-2004] - 2.7 2687cc/155kw/211hp [1999/06-2002/12]
- BOXSTER (987) [2004-2013] - 2.7 2687cc/180kw/245hp [2006/07-2009/12]
- BOXSTER (987) [2004-2013] - 2.7 2687cc/176kw/240hp [2004/11-2006/12]
- BOXSTER (987) [2004-2013] - S 3.2 3179cc/206kw/280hp [2004/11-2006/12]
- BOXSTER (987) [2004-2013] - S 3.4 3387cc/217kw/295hp [2006/07-2009/12]
- BOXSTER (987) [2004-2013] - S 3.4 3387cc/223kw/303hp [2008/08-2009/12]
- BOXSTER Spyder (987) [2007-2011] - 3.4 RS 60 3387cc/223kw/303hp [2007/09-2008/12]
- 911 (996) [1997-2005] - 3.6 GT3 3600cc/280kw/381hp [2003/03-2005/08]
- 911 Καμπριολέ (996) [1998-2005] - 3.6 Turbo 4 3600cc/309kw/420hp [2003/10-2005/08]
- 911 Καμπριολέ (996) [1998-2005] - 3.6 Turbo 4S 3600cc/331kw/450hp [2003/10-2005/08]
- 911 (997) [2004-2013] - 3.6 Carrera 3596cc/239kw/325hp [2004/07-2008/12]
- 911 (997) [2004-2013] - 3.6 Carrera 4 3596cc/239kw/325hp [2004/07-2008/12]
- 911 (997) [2004-2013] - 3.6 Turbo 3600cc/353kw/480hp [2006/03-2009/12]
- 911 (997) [2004-2013] - 3.8 Carrera 4S 3824cc/261kw/355hp [2004/07-2008/12]
- 911 (997) [2004-2013] - 3.8 Carrera 4S 3824cc/280kw/381hp [2005/08-2008/12]
- 911 (997) [2004-2013] - 3.8 Carrera S 3824cc/261kw/355hp [2004/07-2008/12]
- 911 (997) [2004-2013] - 3.8 Carrera S 3824cc/280kw/381hp [2005/08-2008/12]
- 911 Καμπριολέ (997) [2005-2012] - 3.6 Carrera 3596cc/239kw/325hp [2005/04-2008/12]
- 911 Καμπριολέ (997) [2005-2012] - 3.6 Carrera 4 3596cc/239kw/325hp [2005/04-2008/12]
- 911 Καμπριολέ (997) [2005-2012] - 3.8 Carrera 4S 3824cc/261kw/355hp [2005/04-2008/12]
- 911 Καμπριολέ (997) [2005-2012] - 3.8 Carrera 4S 3824cc/280kw/381hp [2005/08-2008/12]
- 911 Καμπριολέ (997) [2005-2012] - 3.8 Carrera S 3824cc/261kw/355hp [2005/04-2008/12]
- 911 Καμπριολέ (997) [2005-2012] - 3.8 Carrera S 3824cc/280kw/381hp [2005/08-2008/12]
- 911 Τάργκα (997) [2006-2012] - 3.6 Carrera 4 3596cc/239kw/325hp [2006/07-2008/12]
- 911 Τάργκα (997) [2006-2012] - 3.8 Carrera 4S 3824cc/261kw/355hp [2006/07-2008/12]
- CAYMAN (987) [2005-2013] - S 3.4 3387cc/217kw/295hp [2005/11-2009/12]
- 718 CAYMAN (982) [2016-] - 2.0 (982120. 982121) 1988cc/220kw/300hp [2016/04-]
- 718 CAYMAN (982) [2016-] - 2.5 GTS (982140. 982141) 2497cc/269kw/365hp [2017/10-]
- 718 CAYMAN (982) [2016-] - S 2.5 (982130. 982131) 2497cc/257kw/350hp [2016/04-]
- 718 BOXSTER (982) [2016-] - 2.0 (982320. 982321) 1988cc/220kw/300hp [2016/04-]
- 718 BOXSTER (982) [2016-] - 2.5 GTS (982340. 982341) 2497cc/269kw/365hp [2017/10-]
- 718 BOXSTER (982) [2016-] - 2.5 S (982330. 982331) 2497cc/257kw/350hp [2016/04-]
- 911 (991) [2011-] - 3.0 Carrera 4 GTS 2981cc/331kw/450hp [2017/03-]
- 911 (991) [2011-] - 3.0 Carrera GTS 2981cc/331kw/450hp [2017/03-]
- 911 (991) [2011-] - 3.0 Carrera T 2981cc/272kw/370hp [2018/01-]
- 911 (991) [2011-] - 3.8 GT2 RS 3800cc/515kw/700hp [2017/07-]
- 911 (991) [2011-] - 3.8 Turbo S 3800cc/446kw/607hp [2017/08-]
- 911 (991) [2011-] - 4.0 GT3 3996cc/368kw/500hp [2017/05-]
- 911 (991) [2011-] - 4.0 GT3 RS 3996cc/383kw/520hp [2018/05-]
- 911 Καμπριολέ (991) [2012-] - 3.0 Carrera 4 GTS 2981cc/331kw/450hp [2017/03-]
- 911 Καμπριολέ (991) [2012-] - 3.0 Carrera GTS 2981cc/331kw/450hp [2017/03-]
- 911 Τάργκα (991) [2014-] - 3.0 4 GTS 2981cc/331kw/450hp [2017/03-]
- BOXSTER Spyder (981) [2015-] - 3.8 3800cc/276kw/375hp [2015/01-]
- BOXSTER (987) [2004-2013] - 2.9 2893cc/155kw/211hp [2009/02-2012/03]
- CARRERA GT (980) [2003-2006] - 5.7 5733cc/450kw/612hp [2003/07-2006/12]
- CAYMAN (987) [2005-2013] - 2.9 2893cc/155kw/211hp [2009/02-2013/06]
- 911 (996) [1997-2005] - 3.6 S 3600cc/331kw/450hp [2004/08-2005/08]
- 911 Καμπριολέ (996) [1998-2005] - 3.6 S 3600cc/331kw/450hp [2004/08-2005/08]
- 911 (997) [2004-2013] - 3.6 Carrera 3596cc/235kw/320hp [2004/08-2005/07]
- 911 (997) [2004-2013] - 3.8 Carrera 4S 3824cc/264kw/359hp [2005/09-2008/12]
- 911 Καμπριολέ (997) [2005-2012] - 3.6 Carrera 3596cc/235kw/320hp [2005/04-2005/07]
- 911 Καμπριολέ (997) [2005-2012] - 3.8 Carrera 4S 3824cc/264kw/359hp [2005/04-2010/12]
- BOXSTER (987) [2004-2013] - S 3.4 (987.760. 987.761) 3436cc/235kw/320hp [2010/08-2012/05]
- 911 Speedster (997) [2010-2011] - 3.8 (997.720. 997.721) 3800cc/300kw/408hp [2010/08-2011/05]
- 911 Τάργκα (997) [2006-2012] - 3.8 Carrera 4S 3800cc/300kw/408hp [2009/08-2012/05]
- 911 Τάργκα (997) [2006-2012] - 3.8 Carrera 4S 3824cc/280kw/381hp [2006/11-2008/12]
- 718 BOXSTER (982) [2016-] - 2.0 1988cc/184kw/250hp [2016/04-]
- 718 CAYMAN (982) [2016-] - 2.0 1988cc/184kw/250hp [2016/04-]
- BOXSTER (981) [2012-] - 2.7 2706cc/155kw/211hp [2012/04-]
- CAYMAN (981) [2013-] - 2.7 2706cc/155kw/211hp [2013/03-]
- 718 BOXSTER (982) [2016-] - GTS 4.0 (982360. 982361) 3995cc/294kw/400hp [2019/01-]
- 911 Speedster (991) [2018-] - 4.0 (991890. 991891) 3996cc/375kw/510hp [2018/06-]
- 911 (992) [2018-] - 3.0 Carrera (992110) 2981cc/283kw/385hp [2019/01-]
- 911 (992) [2018-] - 3.0 Carrera 4 (992410) 2981cc/283kw/385hp [2019/01-]
- 911 (992) [2018-] - 3.0 Carrera 4 S (992420) 2981cc/331kw/450hp [2019/01-]
- 911 (992) [2018-] - 3.0 Carrera S (992120) 2981cc/331kw/450hp [2019/01-]
- 911 Καμπριολέ (992) [2019-] - 3.0 Carrera (992310) 2981cc/283kw/385hp [2019/01-]
- 911 Καμπριολέ (992) [2019-] - 3.0 Carrera 4 (992610) 2981cc/283kw/385hp [2019/01-]
- 911 Καμπριολέ (992) [2019-] - 3.0 Carrera 4 S (992620) 2981cc/331kw/450hp [2019/01-]
- 911 Καμπριολέ (992) [2019-] - 3.0 Carrera S (992320) 2981cc/331kw/450hp [2019/01-]
- 911 Τάργκα (992) [2020-] - 3.0 4 (992510) 2981cc/283kw/385hp [2020/05-]
- 911 Τάργκα (992) [2020-] - 3.0 4S (992520) 2981cc/331kw/450hp [2020/05-]
- PANAMERA (970) [2009-2017] - 3.0 4S 2997cc/235kw/320hp [2013/10-2016/10]
- PANAMERA (970) [2009-2017] - 3.0 S 2997cc/235kw/320hp [2013/10-2016/10]
- PANAMERA (970) [2009-2017] - 4.8 GTS 4806cc/320kw/435hp [2012/09-2013/07]
- 918 Spyder [2013-] - 4.6 4593cc/652kw/887hp [2013/11-]
- 918 Spyder [2013-] - 4.6 4593cc/426kw/579hp [2013/11-]
- 718 BOXSTER Spyder (982) [2019-] - 4.0 (982510. 982511) 3995cc/309kw/420hp [2019/07-]
- 918 Spyder [2013-] - 4.6 4593cc/447kw/608hp [2013/11-]
- ABARTH
- GRANDE PUNTO [2007-2012] - 1.4 (199.AXX1B) 1368cc/132kw/180hp [2007/12-2012/12]
- PUNTO EVO [2008-2012] - 1.4 (199.AXX1B) 1368cc/120kw/163hp [2009/10-2012/02]
- PUNTO EVO [2008-2012] - 1.4 (199.AXX1B) 1368cc/132kw/180hp [2008/07-2012/02]
- PUNTO [2012-] - 1.4 (199.AXX1B) 1368cc/120kw/163hp [2012/03-]
- PUNTO [2012-] - 1.4 (199.AXX1B) 1368cc/132kw/180hp [2012/03-]
- GRANDE PUNTO [2007-2012] - 1.4 (199.AXN1B) 1368cc/114kw/155hp [2007/12-2010/06]
- 500 [2008-] - 1.4 (312.AXD1A) 1368cc/99kw/135hp [2008/08-]
- 500 [2008-] - 1.4 (312.AXF11. 312.AXF1A. 312.AXD1A) 1368cc/118kw/160hp [2008/08-]
- 500C / 595C / 695C [2008-] - 1.4 (312.AXD1A) 1368cc/99kw/135hp [2008/05-]
- 500C / 595C / 695C [2008-] - 1.4 (312.AXF1A. 312.AXD1A) 1368cc/118kw/160hp [2011/05-]
- 124 Spider [2016-] - 1.4 (348) 1368cc/125kw/170hp [2016/03-]
- 500 [2008-] - 1.4 (312.AXF11. 312.AXF1A) 1368cc/132kw/180hp [2008/08-]
- 500 [2008-] - 1.4 (312.AXT1A) 1368cc/140kw/190hp [2008/08-]
- 500C / 595C / 695C [2008-] - 1.4 (312.AXF1A. 312.AXF11. 312.AXD1A) 1368cc/103kw/140hp [2009/09-]
- 500 [2008-] - 1.4 (312.AXF1A. 312.AXD1A) 1368cc/103kw/140hp [2010/05-]
- 500 [2008-] - 1.4 (312.AXY11. 312.AXY1A) 1368cc/107kw/145hp [2016/05-]
- 500 [2008-] - 1.4 (312.AXZ11) 1368cc/121kw/165hp [2016/05-]
- 500C / 595C / 695C [2008-] - 1.4 (312.AXF11. 312.AXF1A) 1368cc/132kw/180hp [2010/06-]
- 500C / 595C / 695C [2008-] - 1.4 (312.AXY1A. 312.AXY11) 1368cc/107kw/145hp [2016/05-]
- 500C / 595C / 695C [2008-] - 1.4 (312.AXZ1A) 1368cc/121kw/165hp [2016/05-]
- 500 [2008-] - 1.4 (312.AYB11. 312.AYB1A) 1368cc/120kw/163hp [2016/06-]
- DODGE
- DART [2012-] - 1.4 T 1368cc/119kw/162hp [2012/04-]
- MAN
- LION S CITY [1996-] - A 22 12816cc/235kw/235hp [2009/10-]
- NG [1992-] - NG 313 12816cc/228kw/228hp [2007/05-2014/12]
- LION´S CITY [2004-] - Lions City CNG 12816cc/228kw/228hp [2007/05-]
- LION´S CITY [2004-] - Lions City CNG 12816cc/228kw/228hp [2012/02-2014/12]
- LION´S CITY [2004-] - Lions City CNG 12816cc/228kw/228hp [2012/07-2014/12]
- LION´S CITY [2004-] - Lions City CNG 12816cc/228kw/228hp [2013/01-2014/12]




























































-250x250.png)









































































-80x80.png)
